手机:13827297626
电话:13827297626
邮箱:435281082@qq.com
地址:广东省东莞市樟木头镇圩镇荔苑路7号星耀国际
发布时间:2020-05-19 点此:6471次
Micro USB是USB 2.0标准的一个便携版本,比部分手机使用的Mini USB接口更小,节省空间,具有高达10000次的插拔寿命和强度,盲插结构设计。Micro-USB标准支持目前USB的OTG功能,即在没有主机(例如个人电脑)的情况下,便携设备之间可直接实现数据传输,兼容USB1.1 (低速:1.5Mb/s,全速:12Mb/s) 和USB 2.0(高速:480Mb/s),同时提供数据传输和充电,特别适用于高速(HS)或更高速率的数据传输,是连接小型设备(如手机,PDA,数码相机,数码摄像机和便携数字播放器等等)的最佳选择。同时也能为车载提供方便,只需要USB车载充电器,再加MICRO USB数据线进行手机应急充电。并且在高档车上面直接有5V 输出接口接上MICRO USB线为手机充电。MICRO USB通用性广,使用方便。
颖鑫电子microusb 母座厂家批发价格:0.15~0.5元/个;不同pin脚数的价格 有所区别,详细可以咨询客服提供图纸核对确认。

Micro-USB是Mini-USB的下一代规格,Micro系列的定义包括标准设备使用的Micro-B系列插槽;OTG设备使用的Micro-AB插槽;Micro-A和Micro-B插头,还有线缆。Micro系列的独特之处是他们包含了不锈钢外壳,万次插拔不成问题。

microusb的一种安装焊接方式
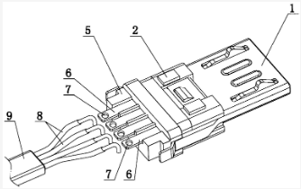
Micro-USB插头及数据线的插装焊接工艺,其特征在于包括如下步骤:
步骤A、制备壳体(1)、基座(2)、卡钩(4)和多个电接端子(3),该电接端子(3)的尾端设置为加宽焊接盘(6),该加宽焊接盘(6)开设有插接孔(7),电接端子(3)与加宽焊接盘(6)一体成型;
步骤B、将多个电接端子(3)固定于注塑机并采用镶嵌注塑的方式注塑成型得到端子座(5);
步骤C、将所述卡钩(4)和端子座(5)上的电接端子(3)插入基座(2)的凹槽内;步骤D、将步骤C中得到的端子座(5)和基座(2)的连接体套装至所述壳体(1)内,并卡接扣合得到Micro-USB插头。

采用现有的自动化设备即可进行自动化加工,数据线的焊接效率得到成倍提高,焊接质量得到显著提高,大大降低了数据线生产成本。




上一篇:电位器封装