手机:13827297626
电话:13827297626
邮箱:435281082@qq.com
地址:广东省东莞市樟木头镇圩镇荔苑路7号星耀国际
发布时间:2021-04-27 点此:4628次
滚珠开关本质上是利用导电珠子在重力或磁力等力的作用下,通过滚动来触碰电路的两端,进而实现电路的导通与断开。通过内部精密结构的控制,配合电路,可以实现感应角度,力度,方向等作用。

滚珠开关是一种机械式的感应开关,如果通过滚珠开关来识别角度,在精度上是比不了MEMS类的高精度角度传感器的,但是其优点在于省电,微型,性价比高等,在日常生活类电子产品中有良好的应用。根据滚珠开关的安装类型,可以分为:贴片式滚珠开关、插脚式滚珠开关。贴片式因其良好的适配SMD工艺,现在应用越来越广泛。

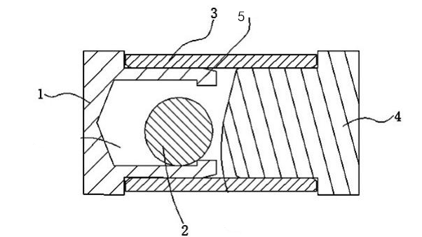
1:金属座 2:金属滚珠 3:绝缘体 4:金属塞 5:限制器
贴片式倾斜滚珠开关,水平放置呈常开状态(电路处于断开状态)倾斜滚珠开关水平时,金属滚珠被限位台阶限位而完全置于凹槽形容腔内,金属滚珠与导电凸点不接触,倾斜滚珠开关处于断开状态。倾斜滚珠开关倾斜时,金属滚珠根据倾斜的角度要求从凹槽形容腔中滚动露出与导电凸点接触,倾斜滚珠传感开关处于导通状态,起到触发电路的功能,满足使用需要。滚珠开关输出简单的ON、OFF信号,能够在许多场景中进行的应用。如在智能手表中智能亮屏,在手表倾斜到一定角度后,屏幕点亮。
上一篇:10*10五向轻触开关
下一篇:超声波电动牙刷轻触开关开发方案
相关推荐